LHB型防爆电动葫芦式起重机简介
LHB型防爆电动葫芦式起重机
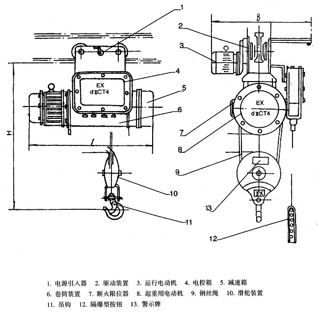
LHB型防爆电动葫芦式起重机是一种专门设计用于爆炸性环境中的起重设备,符合国家标准GB3836.1-2000《爆炸性环境用防爆电气设备―第1部分:通用要求》和GB3836.2-2000《爆炸性环境用防爆电气设备―第2部分:隔爆型“d”》的规定。其防爆等级为dⅡCT4和dⅡBT4,适用于存在可燃性气体、蒸汽与空气形成的爆炸性混合物的场所。

主要特点
防爆设计:LHB型防爆电动葫芦式起重机采用隔爆型设计,外露防爆零部件使用无火花材料制成,确保在爆炸性环境中安全使用。
结构紧凑:设备结构紧凑、自重轻、体积小,但起重能力大,适用于各种紧凑空间。
适用范围广:适用于海拔2000米以下,周围空气温度在-25℃至+40℃之间的环境,适用于有防雨、雪及无水蒸汽的场合。

技术参数
起重量:5吨、8吨、10吨、12.5吨、16吨、20吨、25吨、30吨、32吨、40吨、50吨1
提升高度:6米、9米、12米或其他高度1
提升速度:8米/分钟、7米/分钟、3.5米/分钟等1
小车运行速度:10米/分钟、20米/分钟1
大车运行速度:20米/分钟、30米/分钟1

适用场所
LHB型防爆电动葫芦式起重机适用于厂房内有规定的可燃性气体、蒸气与空气形成的爆炸性混合物的场合,如石油、化工等工业领域。
综上所述,LHB型防爆电动葫芦式起重机以其卓越的防爆性能和广泛的应用范围,在爆炸性环境中发挥着重要作用。
技术参数:


| 上一条: LB型防爆单梁桥式起重机 2024-10-24 | 下一条: LXB型防爆电动单梁悬挂起重机 2024-10-24 |





联系人:贺经理
